This website requires JavaScript.
Explore
Help
Sign In
opensource
/
dify
Watch
2
Star
0
Fork
0
You've already forked dify
mirror of
https://github.com/langgenius/dify.git
synced
2026-03-11 03:29:44 +08:00
Code
Issues
Packages
Projects
Releases
Wiki
Activity
5c4028d557
dify
/
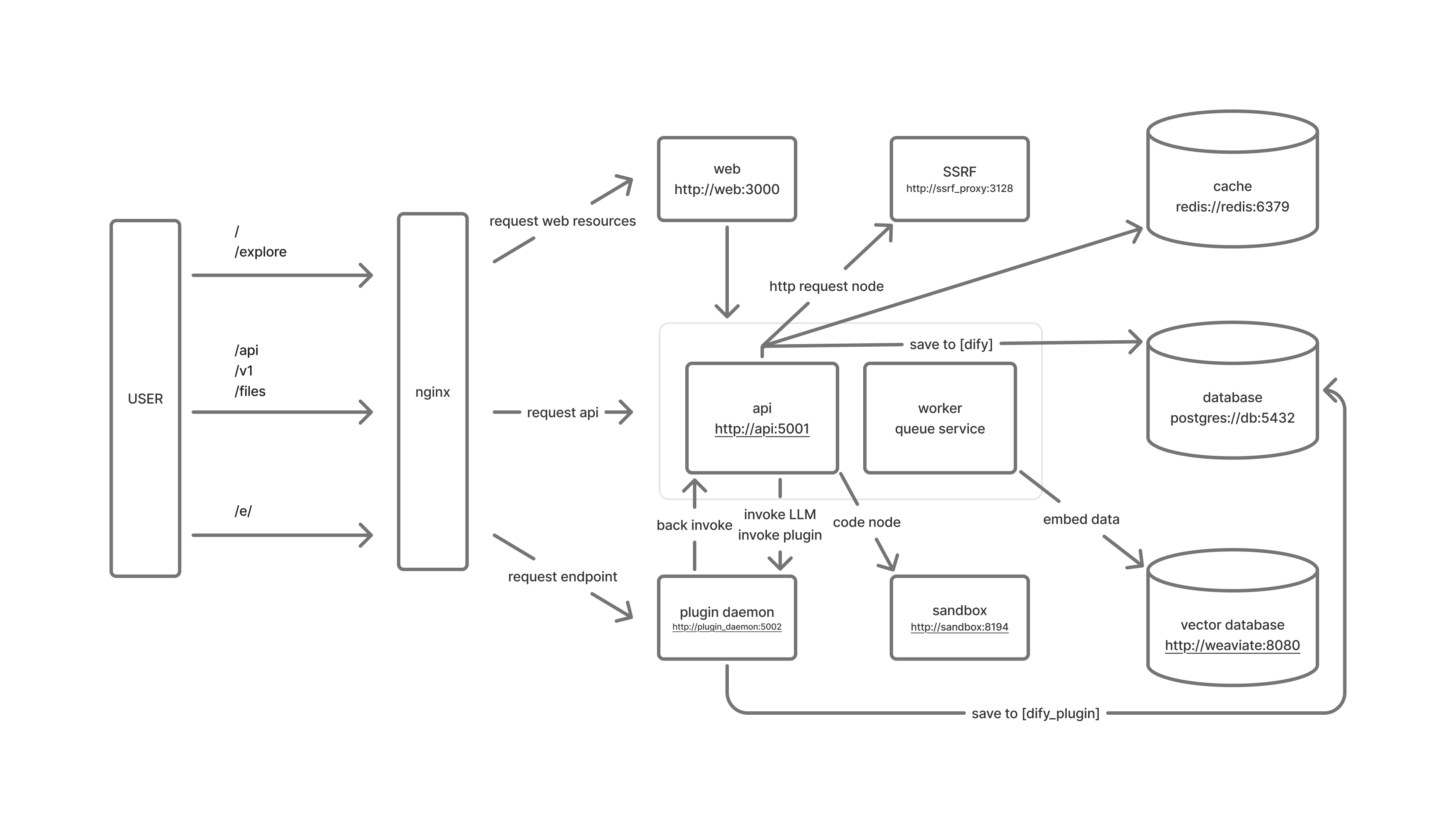
docker
/
docker-compose.png
非法操作
28a59ba344
chore: improve diagram picture of docker compose (
#19054
)
2025-04-29 11:43:50 +08:00
170 KiB
3404x1965px
Raw
History